أخبار ذات صلة

محتوى فارغ!

SNCR عملية النزعة

توافر الحالة:
الكمية:
facebook sharing button
twitter sharing button
line sharing button
wechat sharing button
linkedin sharing button
pinterest sharing button
sharethis sharing button

وصف المنتج

وصف عملية إزالة النتروجضة

سيكون تركيز الغبار لغاز المداخن الذي تم تفريغه بواسطة فرن تسخين الغاز الطبيعي أقل من 10 ملغ/ن. شبكة المقوم ، يدخل وحدة محفز SCR لإكمال عملية تقليل أكاسيد النيتروجين ، ويتم تقليل أكاسيد النيتروجين إلى N2 غير سامة وغير ضارة في الغلاف الجوي. .

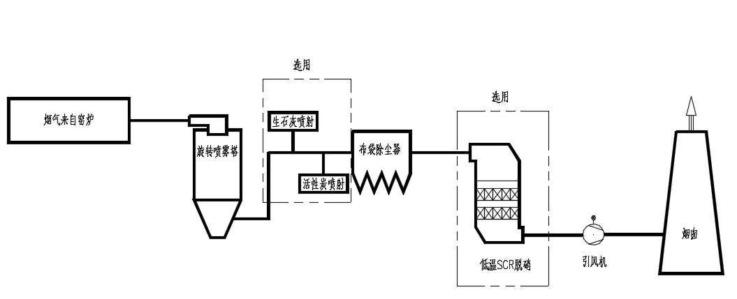
مخطط تدفق عملية SDA



سمات:

1. درجة حرارة التشغيل منخفضة                                                                                                                                                                  

2. عالية الكفاءة في حالة الابنار

3. لن يكون هناك تلوث ثانوي

4. معدل أكسدة SO2 <1 ٪

مخطط هيكل مفاعل SCR

عملية إزالة النتروجضة لفرن التسخين الصلب

خذ الفرن الصلب كمثال

حجم الدخان: 51600NM3

درجة حرارة غاز المداخن: 120 ~ 150 ℃

كانت أكواخ نوكس المدخلات 300 ملغ/نانومتر3

كانت كفاءة النزع 67 ٪

رقمX وكانت أكواخ الانبعاثات 100 ملغ/نانومتر3

تم اعتماد عملية "بعد فرن تسخين الغاز الطبيعي + scr denitration + مسودة مروحة مستحثة = تصريف قياسي "

مخطط SCR التخطيطي





مناسبة لـ: الغلاية ، فرن السلسلة ، سرير مميّز ، فرن دوار ، إلخ.

يتم استخدام SNCR و SCR بشكل شائع في نزع الغاز المداخن. بالمقارنة مع SNCR و SCR ، فإن SNCR لديه الخصائص التالية.

أولاً ، يكون الفرق الأكبر بين SNCR و SCR هو عدم استخدام أي محفز في عملية إزالة النتروجين ، ولا يؤدي إلى أكسدة SO:/SOA ، وبالتالي فإن فرصة انسداد مسبق الهواء صغير جدًا.

ثانياً ، لا يوجد فقدان للضغط في العملية بأكملها ، لذلك ليست هناك حاجة لتحسين رأس الضغط لمشروع المروحة المستحثة ، وخاصة تحول الوحدة لا يحتاج إلى تحويل مسودة المروحة المستحثة ، مما يوفر الاستثمار ويقصر فترة إنشاء.

ثالثًا ، تحتل المعدات التي تتطلبها SNCR مساحة صغيرة ، ومقارنتها بمعدات SCR ، فهي بسيطة ، ويتم تقليل مبلغ البناء ، ويتم اختصار وقت تنفيذ المشروع. بالنسبة لوحدة التحول ، يكون أكثر ملاءمة لتنفيذ المشروع في ظل حالة قيود الموقع الكبيرة.


رابعًا ، يتم تنفيذ عملية التخفيض الكاملة لعملية SNCR في المرجل ، وليس هناك حاجة لإعداد مفاعل آخر.

يتم حقن عامل التخفيض في غاز المداخن من خلال فوهة مثبتة على جدار المرجل.

يتم ترتيب الفوهات في منطقة المؤثر الخارق بين غرفة الاحتراق والاقتصاد. توفر حرارة الغلاية الطاقة للتفاعل ، بحيث يتم تقليل أكاسيد النيتروجين هنا.

إن إلغاء المفاعل ، وهيكل الصلب الداعم للمفاعل ومداخنه الإضافي يقلل جزءًا كبيرًا من الاستثمار ، يقلل من معظم أعمال التثبيت ، وهو أكثر ملاءمة لإصلاح الشامل والصيانة.


مبدأ النظام

تنقسم مراحل معالجة أكاسيد النيتروجين في غاز المداخن عمومًا إلى معالجة الوقود المبكرة ، والتحكم في عملية الاحتراق ، وإزالة الغازات المتأخرة. التحكم في الهواء الزائد ، وتقليل درجة حرارة الاحتراق ، إلخ ، طريقة شعاع الإلكترون ، طريقة امتصاص الكربون المنشط وغيرها من التقنيات ، ولكن لم يتم تطبيقها وتعزيزها في الهندسة بسبب تكلفة التشغيل ، وصعوبة التشغيل وأسباب أخرى. طريق فرن تسخين الغاز ه.

يتميز فرن التدفئة بحوالي 200 درجة مئوية. جهاز تسخين غاز غاز موقد الانفجار ، وتسخين غاز المداخن الأصلي من 200 ℃ إلى 320 ℃.

قم بإعداد جهاز تفاعل SCR Denitration ، ومجموعة من تخزين عامل الحد ، والانحلال الحراري ، ونظام التوزيع الموحد. يدخل غاز المداخن درجة حرارة إزالة النتروجين قبل 320 ℃ ، بعد رش الأمونيا ، شبكة المقوم في وحدة محفز SCR ، أكمل عملية تقليل النيتروجين ، ، يتم تقليل أكاسيد النيتروجين إلى غير سامة وغير ضار n2 في الغلاف الجوي ؛ يدخل غاز المداخن بعد إزالة الكبريت إلى برج إزالة الكبريت من خلال مروحة المسودة المستحثة لعلاج إزالة الكبريت اللاحقة وعلاج إزالة الغبار.


1. مفاعل Denitration هو المعدات الرئيسية لوحدة نزع الغاز المداخن.

2. يجب تصميم تدابير منع التآكل للأجزاء الموجودة في مفاعل SCR والتي يسهل ارتداؤها.

3. تم تجهيز المفاعل مع المحفز.

4. يأخذ تصميم المفاعل في الاعتبار استبدال المحفزات المختلفة خلال حياته.

5. يجب رفع المحفز والتجديد داخل المفاعل.

6. يستخدم الانحلال الحراري اليوري لإنتاج الأمونيا لمنع الآثار الضارة الناجمة عن التمدد الحراري بعد تهوية الدخان.

7. يجب تجهيز المفاعل مع عدد كاف وحجم من أبواب الفتحة وثقوب المراقبة.

8. تتكون قذيفة المفاعل من مواد تلبي متطلبات الاستخدام

9. مطلوب المفاعل للتحقق من أن تصميم نظام امتزاز الضغط في التشغيل العادي ، ولا يُسمح بالتسرب الهوائي.

10. يتطلب تصميم هيكل المفاعل من المعدات النظر في التمدد الحراري ومقاومة التآكل لضمان التشغيل المستقر للمعدات.

11. يفي بنية الفولاذ الداعمة الخارجي للمفاعل بمتطلبات الاستقرار الهيكلي.

12. يجب أن يكون نظام التوزيع العلوي للمفاعل مغلقًا جيدًا.

13. يستخدم مساكن المفاعل صفيحة فولاذية سميكة 6 مم ، والتي يمكنها تحمل الضغط الداخلي ، والحمل الزلزالي ، والحمل الحفاز ، والضغط الحراري ، إلخ.

14. يمكن للمداخن تحمل الأحمال التالية: الوزن الميت المداخن ، حمولة الرياح ، حمل الزلازل ، تراكم الغبار ، البطانة ووزن العزل ، إلخ.


nsure العملية الآمنة للمفاعل ، يجب اتخاذ التدابير التالية لبرج الامتزاز:

material: تعتبر جميع المعدات والمواد مقاومة للتآكل والارتداء.

effulflow تدفق الهواء: يتم استخدام برنامج محاكاة مجال التدفق لتحسين تصميم برج الامتزاز ، وتحسين تخطيط مدخل غاز المداخن ومنفذه.

10) مطلوب ضغط الاختبار للمفاعل ليكون تحت ضغط التشغيل العادي لتصميم نظام الامتزاز ، ولا يُسمح بالتسرب الهوائي.

11) ينبغي النظر في التمدد الحراري ومقاومة التآكل ومقاومة التآكل في تصميم بنية المفاعل.

تأكد من التشغيل المستقر للجهاز.

12) يجب أن تفي بنية الفولاذ الداعمة الخارجي للمفاعل بمتطلبات الاستقرار الهيكلي.

13) يجب أن يضمن نظام التوزيع الأعلى للمفاعل ضيقًا جيدًا ، ولا يُسمح بتسرب الرماد ، ويجب أن يكون لجميع مفاصل الحافة حشوات.

14) يتم تعزيز مساكن المفاعل مع صفيحة فولاذية سميكة 6 مم وصلب مقطع ، والتي يمكن أن تحمل الضغط الداخلي (ضغط التصميم ± 9500) ، الحمل الزلزالي ، حمولة المحفز والإجهاد الحراري.

15) تم تصميم المداخن لتحمل الأحمال التالية: الوزن الميت المداخن ، وحمل الرياح ، وحمل الزلازل ، وتراكم الغبار ، وبطانة ووزن العزل ، إلخ.

يجب تزويد جميع المداخن بأبواب فتحة وفتحات إزالة الرماد ذات العدد الكافي والحجم في مكانها لتسهيل صيانة وتفتيش المداخن (بما في ذلك مفاصل التوسع وأبواب الحواجز) وإزالة الرماد المتراكم.

بالإضافة إلى ذلك ، يفصل باب الفتحة وجدار المداخن ، لسهولة الفتح.

يتم تزويد المداخن بعدد كاف من ثقوب الاختبار في المواقع المناسبة وفقًا للمعيار ومنصة الصيانة.



على: 
تحت: 

مسكن

معلومات عنا

مركز التوظيف

البريد الإلكتروني: business@fzyckj.com
هاتف: +86-13959503901
الفاكس: 0591-22579380.
العنوان: مين كينغ مقاطعة باي تشونغ، فوتشو، فوجيان، الصين
حقوق النشر © 2021 Fujian Xin Yanchuang Technology Co., Ltd.خريطة الموقع| الدعم من قبلLeadong.نانوغرام闽 ICP 备 2021018545 号 -1